三菱PLC實訓臺自動送料裝車系統實驗
一.實驗目的
PLC構成一個自動送料裝車系統。
二.實驗器材
1. 可編程控制器實驗臺 1臺
2. 自動送料裝車控制演示板 1塊
3. PC機(自備) 1臺
4. 編程電纜 1根
5. 自鎖式連接導線(或扁平線) 若干根

三.實驗原理與實驗步驟
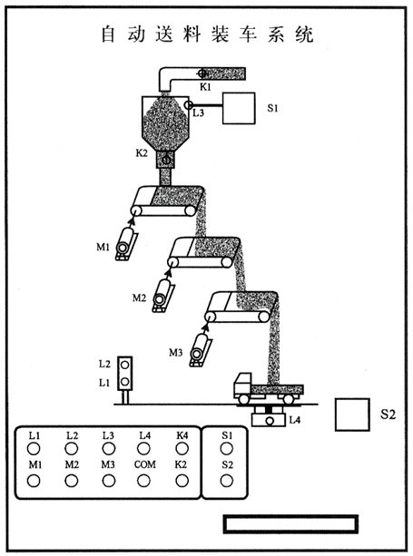
1. 自動送料裝車系統演示板結構如圖所示。
2. 本實驗利用9個LED燈演示系統工作狀態。M1、M2、M3表示電機,其余為開關指示。
3. 控制要求:
(1)紅燈L1滅,綠燈L2亮;表示允許汽車開進裝料場,料斗K2關閉,電機M1、M2、M3都為OFF。
(2)當汽車來到時,S2=ON,L1燈亮,L2燈滅,K1打開放料至S1料位堅持開關時關閉,電機M3運行。
(3)電機M2在M3通2秒后運行。M1在M2通2秒后運行。K2在M1通后打開出料閥。
(4)當料滿后S2=OFF,料斗閥K2關閉,電機M1延時2秒關閉,M2在M1后2秒關閉,M3在M2后2秒停止。
(5)L2亮,L1燈滅,表示汽車可以開走。
4.實驗步驟:
(1)打開實驗臺電源,編程器與PLC連接。
(2)根據具體情況編制輸入程序,并檢查是否正確。
(3)按圖接線,檢查連線是否正確。
(4)按下啟動按鈕,觀察運行結果。
四.設計程序清單
I/O地址分配:
輸入地址:
汽車檢測開關S2 X1 料位檢測開關S1 X0
輸出地址:
料斗開關K2 Y0 進料開關K1 Y6
紅 燈L1 Y1 料滿限位L3 Y7
綠 燈L2 Y2 車到/料滿L4 Y10
電 機M1 Y3
電 機M2 Y4
電 機M3 Y5
接線圖

FX系列的輸出繼電器的公共端:FX1N-40MR為COM0~COM5;輸入端COM與0V相連,輸出端COM0-COM5與DC24V+相連,實驗掛箱COM與0V相連
五、參考程序
參考程序見光盤(自動送料裝車)


