DB-DFR 大容器內水沸騰放熱試驗臺使用說明書
液體沸騰時的傳熱是傳熱學科中的重要方面,特別是水的沸騰傳熱特性,不僅有其典型性,而且有更廣泛的實用意義。
一、實驗目的
通過本試驗觀察水在大容器內沸騰的現象,建立起水泡狀沸騰的感性認識。改變試件的熱負荷,同時測定加熱功率及表面溫度,即可控制大容器內水泡沸騰區的沸騰曲線q~⊿t。
二、實驗原理
大容器沸騰換熱系數a由下式定義:

本試驗裝置所用的試件是不銹鋼管,放在飽和溫度狀態下的蒸餾水中。利用電流流過不銹鋼管對其加熱,可以認為這樣就構成了表面有恒定熱流密度的圓管。測定流過不銹鋼圓管的電流及其兩端的電壓降即可準確地確定表面的熱流密度。表面溫度的變化直接反映出表面放熱系數的大小。
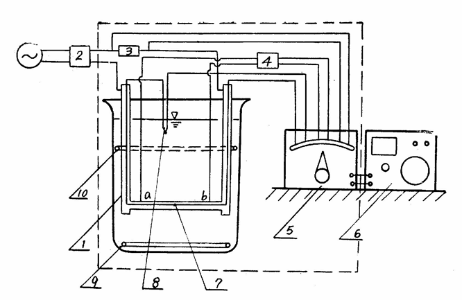
三、實驗裝置及測量系統
圖1為試驗設備的本體,其試件為不銹鋼薄壁管1。其兩端通過電極管3引入低壓直流大電流,將不銹鋼管加熱。管子放在盛有蒸餾水的玻璃容器4中,在飽和溫度下,調節電極管的電壓,可改變管子表面的熱負荷,能觀察到汽泡的形成,擴大,躍離過程,泡狀核心隨著管子熱負荷提高而增加的現象。
管子的發熱量電流過它的電流及其工作段的電壓降來確定。為排除試件端部的影響,在a、b兩點測量工作段的電壓降,以確定通過a、b之間表面的散熱量Q。試件外壁溫度t2,很難直接測定,對不銹鋼管試件,可利用插入管內的銅——康銅熱電偶2測出管內壁溫度t1,再通過計算求出t2。

不銹鋼試件;2. 熱電偶;3. 電極管;4. 玻璃容器;
圖1 大容器內水沸騰放熱試件本體
要達到上述基本要求,整個試驗裝置見圖2
加在管子兩端的直流低壓大電流由硅整流器2供給,改變硅整流器的電壓可調節鋼管兩端的電壓及流過的電流,測定標準電阻3兩端的電壓降可確定流過銅管1的工作電源。

1、試件本體2、硅整流器3、標準電阻4、分壓箱5、轉換開關6、電砬差計
7、熱電偶熱端8、熱電偶冷端9、輔助電熱器10、冷卻管
圖2大容器內水沸騰放熱試驗裝置簡圖
本試驗臺中為方便起見,省略了冰瓶,測量管內壁溫的熱電偶的參考點溫度不是攝氏零度,而是容器內水的飽和溫度ts,即其熱端7放在管子內,冷端3放在蒸餾水中,所以熱電偶反映的是管內壁溫度與容器內水溫之差的熱電勢輸出E(t1,t2)容器內水溫ts用水銀溫度計測量。為了能用一臺電位差計6同時測定管內壁熱電偶的毫伏值,試件ab間電壓降及標準電阻的電壓降,裝有一轉換開關5。在測量試件ab間電壓降時,由于電位差計量程不夠,故在電路中接入一臺分壓箱4。為使蒸餾水達到飽和溫度,試驗研究用輔助電熱器將水加熱到沸,并保持其沸騰狀態,即可進行試驗。
表1試件的幾何參數
| 參數 | 單位 | 試件號 | |||
| 1 | |||||
| 管子內半徑 | mm | 2.2 | |||
| 管子外半徑 | mm | 3 | |||
| 管子壁厚δ | mm | 0.4 | |||
| 工作段ab間長度L | m | 0.1 | |||
| 工作段外表面積F=2prL | ㎡ | ||||
|
|
℃/W | ||||
四、實驗步驟
1、準備與啟動。按圖2將試驗裝置測量線路接好,調整電位差計,使其處于工作狀態。玻璃容器內充滿蒸餾水至4/5高度。接通輔助電熱器,將蒸餾水燒開,并維持其沸騰溫度。啟動硅整流器,逐漸加大工作電流。
2、觀察大容器內水沸騰的現象。
緩慢地加大管子的工作電流,注意觀察下列的沸騰現象,在鋼管的某些固定點上逐漸形成汽泡,并不斷擴大,達到一定大小后, 汽泡躍離管壁,漸漸上升,最后離開水面。產生汽泡的固定點稱為汽化核心。汽泡躍離后,又有新的汽泡在該汽化核心產生。如此周而復始,有一定的周期。隨管子工作電流增加,熱負荷增大,管壁上汽化核心的數目增加,汽泡躍離的頻率也相應加大。如熱負荷增大至一定程度后,能產生的汽泡就會在管壁逐漸形成連續的汽膜,就由液態沸騰向膜態沸騰過渡。此時壁溫會迅速升高,以至將管子燒毀。(因此,試驗中工作電流水允許過高,以防出現膜態沸騰。)
3、測定放熱系數a
為了確定放熱系數a,需要測定下列參數
(1)容器內水的飽和溫度t3, ℃;
(2)標準電阻兩端電壓降,V1, mV;
(3)管子工作段ab間的電壓降V, V;
(4)反映管內壁溫度與容器內水溫之差的熱電勢輸出E
為了測定不同熱負荷下放熱系數a的變化,工作電流在30—— 安培范圍內改變,共7~8個工況。每改變一個工況,待穩定后記錄上列數據。
4、試驗結束前先將硅整流器旋至零值,然后切斷電源。
5、必要時可調換不同直徑的不銹鋼管子,進行上述試驗。
五、實驗數據的計算和整理
1、電流流過試驗管,在工作段AB間的發熱量Qw
QwI×V W
式中:V —— 工作段ab間電壓降, V
I —— 流過試件的電流, A
電流由它流過標準電阻3產生的電壓降V1來計算。因為標準電阻為150A/75mv,所以測得標準電阻3上每1mv電壓降,等于有2A的電流流過,即
Im2×V1 A
電壓降由下式求得:
V=T×V1×10-³
其中:T —— 分壓箱倍率,T=201
V1 —— 試件ab間的電壓經分壓箱后測得的值,mV
2、試件表面熱負荷q
q=Q/F W/㎡
式中:F —— 工作段ab間的表面積,㎡
3、管子外表面溫度t2的計算
試件為圓管時,按有內熱源的長圓管,其管外表面為對流放熱條件,管內壁面絕熱時,根據管壁溫度可以計算外壁溫度:

4、泡態沸騰時放熱系數a
在穩定情況下,電流流過試驗管發生的熱量,全部通過外表面由水沸騰放熱而帶走。
a=Q/F⊿t=q/(t2-t1) W/m³K
六、實驗報告要求及注意事項
實驗報告要求
1、在方格紙上,以q為縱座標、⊿t為橫座標將各試驗點繪出,并連成曲線。
2、將實驗結果與邏遜瑙整理推薦的泡態沸騰熱負荷q與溫差⊿t的關系式。
進行比較,分析討論系數Cpt變化帶來的影響。
3、在方格紙上繪制a~⊿t曲線。
注意事項
1、預習實驗報告,了解整個試驗裝置各個部件,并熟悉儀表的使用,特別是電位差計,必須按操作步驟使用,以免損壞儀器。
2、為確保試驗管不致燒毀,硅整流器的工作電流不得超過 100A,以防試驗管及硅整流器損壞。
表2實驗原始數據記錄及參數計算
|
項目 序號 |
參數 | 符號及計算公式 |
工況 單位 |
1 | 2 | 3 | 4 | 5 | 6 | 7 | 8 |
| 1 | 沸騰水飽和溫度 | ℃ | |||||||||
| 2 | 管內壁溫與水溫之差的熱電勢輸出 | E(t1,t2) | mV | ||||||||
| 3 | 試件ab間電壓經分壓后測得的值 | V2 | mV | ||||||||
| 4 | 標準電阻兩端電壓降 | V1 | mV | ||||||||
| 5 | 管內壁溫度 | t1 | ℃ | ||||||||
| 6 | 管子ab間電壓降 | V=T×V2×10-³ | V | ||||||||
| 7 | 管子工作電流 | I=2×V1 | A | ||||||||
| 8 | 管子放熱量 | Q=V×I | W | ||||||||
| 9 | 管子外壁溫度 | t2= t1-Q | ℃ | ||||||||
| 10 | 管子表面熱負荷 | q=Q/F | W/㎡ | ||||||||
| 11 | 沸騰放熱溫差 | ⊿t= | ℃ | ||||||||
| 12 | 水沸騰放熱系數 | a=Q/ F⊿t | W/㎡℃ |
試驗管直徑:D2= 系數:
工作段長度L= 最大允許工作電流
工作段一表面積F=


